海豹论坛比亚迪海豹厂家限制功率要求解除


汽车文化论坛法式复古澳式打造:Devaux Spyder



雷克萨斯ES论坛雷克萨斯ES仪表台老化开裂 有质量问题

福特电马论坛别墅一福特电马突发起火 差点殃及其他豪车



人车生活论坛1995-2001年款大众Polo经典:你喜欢这款车吗?



保时捷911论坛实用主义美学 保时捷911SC大玩Safari风格越野改装



七嘴八舌论坛《F1:狂飙飞车》续集正式启动 核心团队全员回归



飞度论坛广汽本田飞度发动机VTC执行器异响

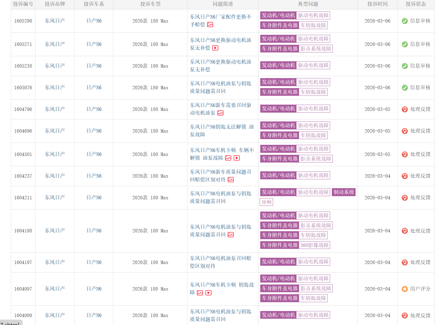
日产N6论坛日产N6质量差劲 新车召回维修占比大


人车生活论坛山寨豪车老头乐热销农村 隐患无穷大

人车生活论坛四转子+中置后驱!这台科尔维特概念车三次上马三次被砍


奥迪RS5论坛科幻感十足的概念改装 奥迪RS5 Avant还能这么玩


汽车文化论坛这台爆改的科尔维特太帅了吧!


用车心得论坛看完才懂 为什么右转车要让所有人

汉论坛比亚迪汉DMI OTA升级后电机输出功率被锁
海豹论坛比亚迪海豹车辆OTA升级后电机功率被限制

风云T9论坛奇瑞风云T9起步或者低速刹车顿挫

皓影论坛广汽本田皓影车辆天窗遮阳帘卡扣无故断裂

长安UNI-Z新能源论坛长安UNI-Z新能源哨兵模式不报警


长安UNI-V论坛UNI-V过保后隐藏门把手失灵怎么解决?


京公网安备: